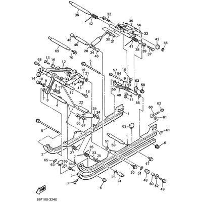
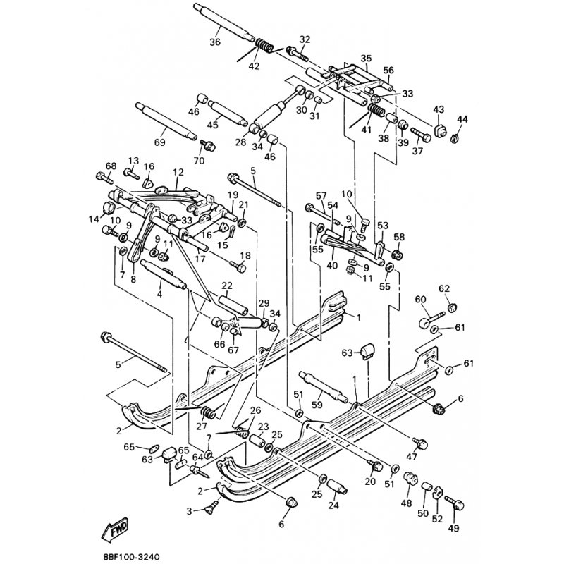
SPRING,REAR.2
Artikelname: SPRING,REAR.2
Hersteller: Yamaha
OEM Nummer: 87F474740000
Hersteller: Yamaha
OEM Nummer: 87F474740000






















