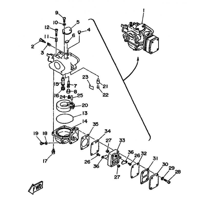
DUSE, NADEL
Artikelname: DUSE, NADEL
Hersteller: Yamaha
OEM Nummer: 6G1149470000
Hersteller: Yamaha
OEM Nummer: 6G1149470000






















