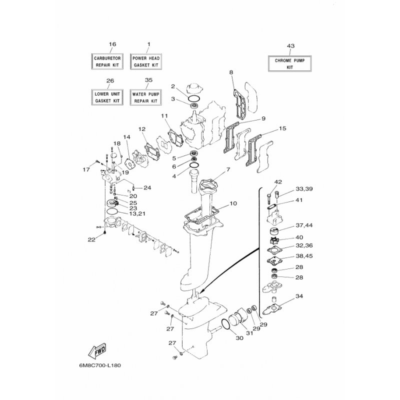
DICHTUNG
Artikelname: DICHTUNG
Hersteller: Yamaha
OEM Nummer: 6G114198A100
Hersteller: Yamaha
OEM Nummer: 6G114198A100




















