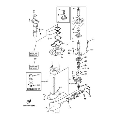
GEHAUSE, WASSERPUMPE
Artikelname: GEHAUSE, WASSERPUMPE
Hersteller: Yamaha
OEM Nummer: 69P443110100
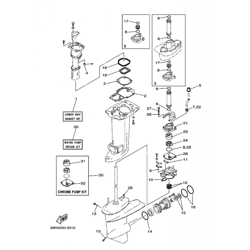
Hersteller: Yamaha
OEM Nummer: 69P443110100






















