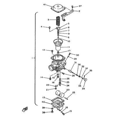
HAUPTDUSE
Artikelname: HAUPTDUSE
Hersteller: Yamaha
OEM Nummer: 6201423A76A0
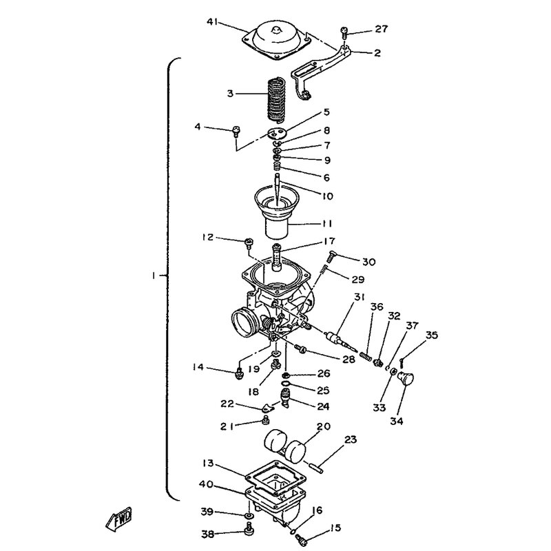
Hersteller: Yamaha
OEM Nummer: 6201423A76A0






















