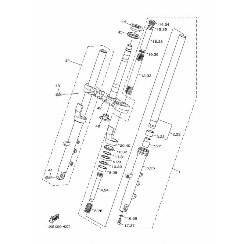
WELLENDICHTRING
Artikelname: WELLENDICHTRING
Hersteller: Yamaha
OEM Nummer: 5VU231450000
Hersteller: Yamaha
OEM Nummer: 5VU231450000




















