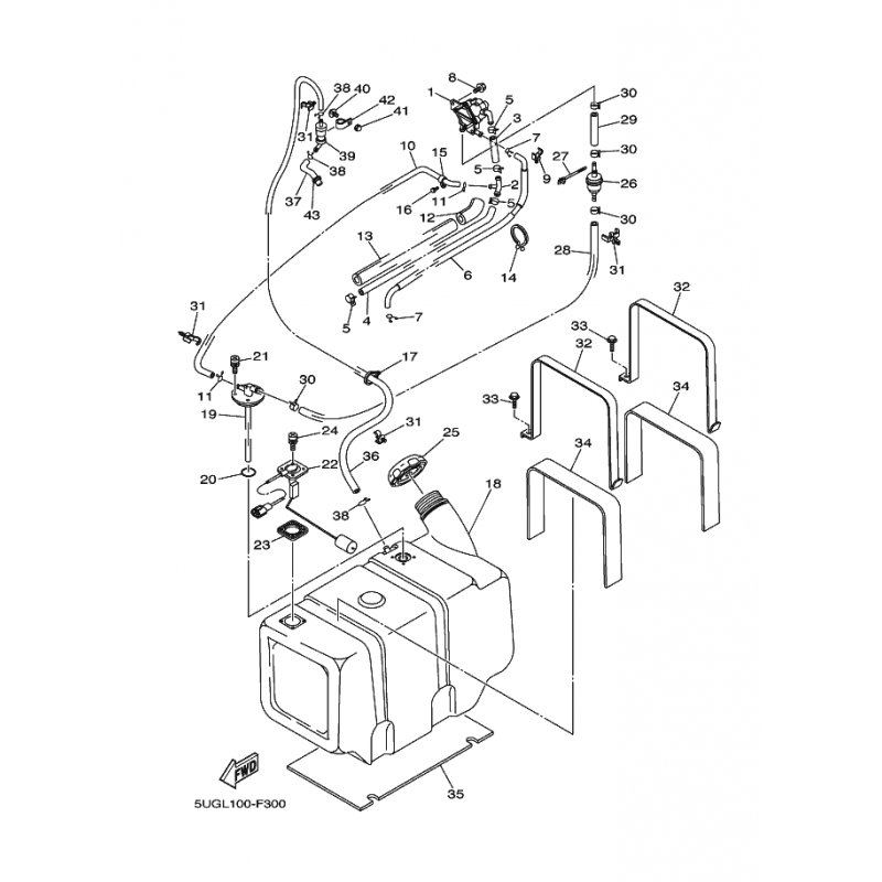
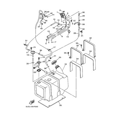
Yamaha Teil 5UG142950000
Artikelname: Yamaha Teil 5UG142950000
Hersteller: Yamaha
OEM Nummer: 5UG142950000
Hersteller: Yamaha
OEM Nummer: 5UG142950000






















