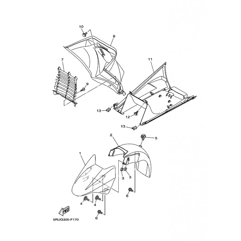
Yamaha Teil 5RU215570000
Artikelname: Yamaha Teil 5RU215570000
Hersteller: Yamaha
OEM Nummer: 5RU215570000
Hersteller: Yamaha
OEM Nummer: 5RU215570000






















