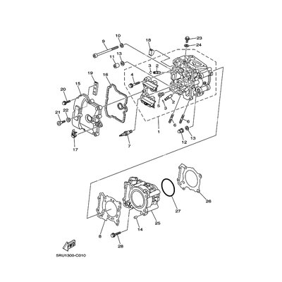
ZYLINDER
Artikelname: ZYLINDER
Hersteller: Yamaha
OEM Nummer: 5RU113100000
Dieser Artikel wurde durch folgenden ersetzt: 5RU113101000
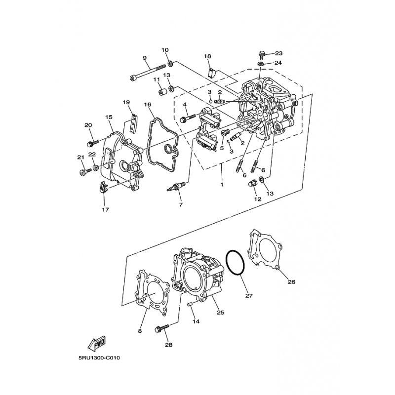
Hersteller: Yamaha
OEM Nummer: 5RU113100000
Dieser Artikel wurde durch folgenden ersetzt: 5RU113101000






















