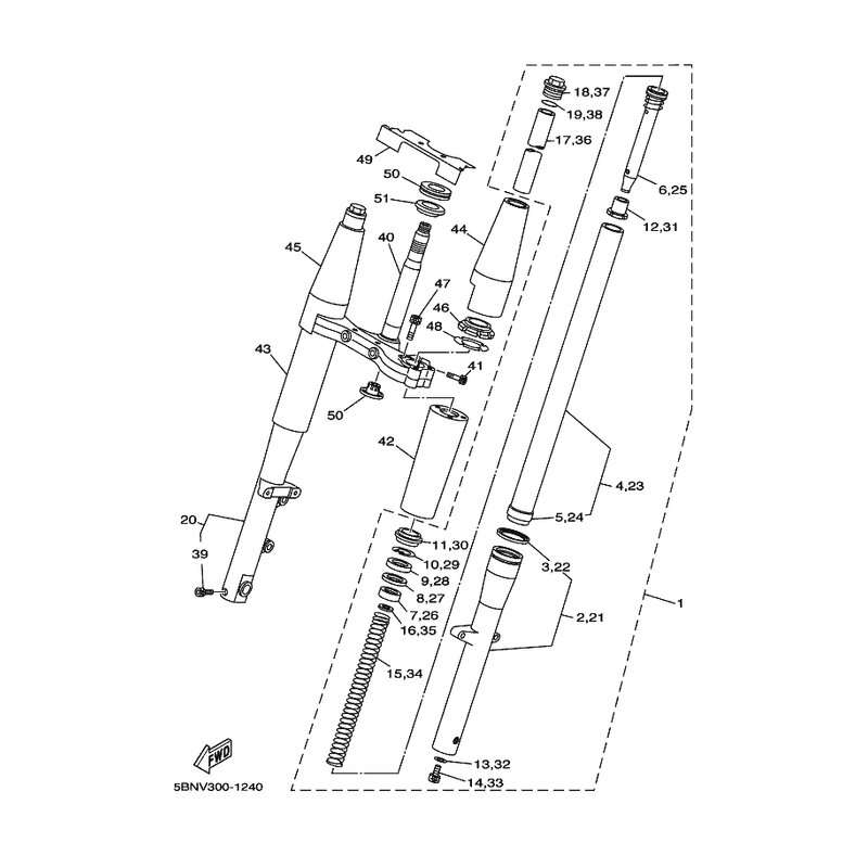
UNTERE KONSOLE KOMPL.
Artikelname: UNTERE KONSOLE KOMPL.
Hersteller: Yamaha
OEM Nummer: 5KS233400000
Dieser Artikel wurde durch folgenden ersetzt: 5KS233401000
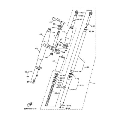
Hersteller: Yamaha
OEM Nummer: 5KS233400000
Dieser Artikel wurde durch folgenden ersetzt: 5KS233401000






















