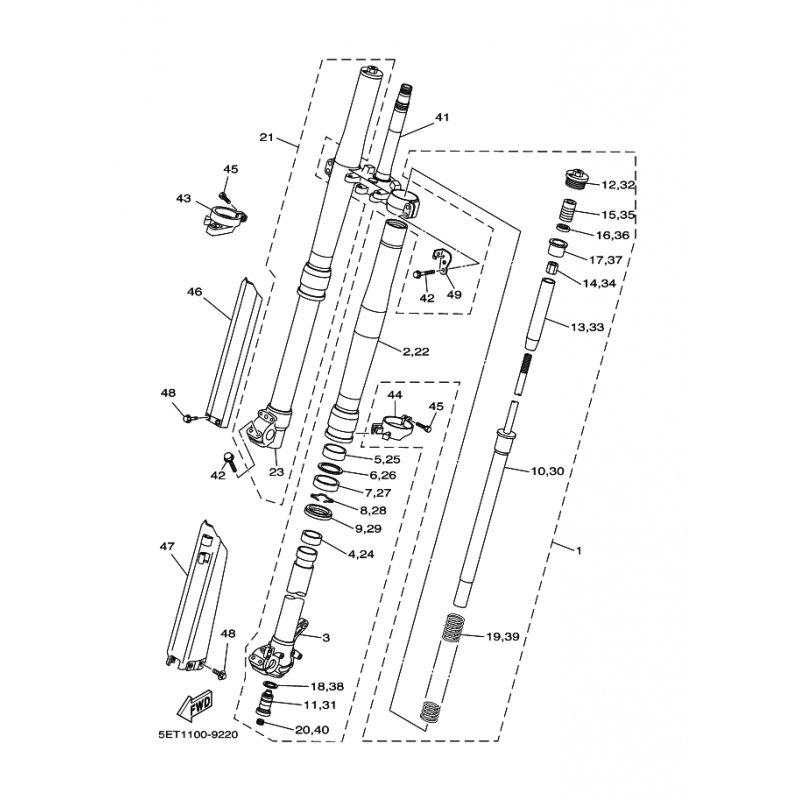
SPEZIALMUTTER
Artikelname: SPEZIALMUTTER
Hersteller: Yamaha
OEM Nummer: 5ET23393L000
Hersteller: Yamaha
OEM Nummer: 5ET23393L000






















