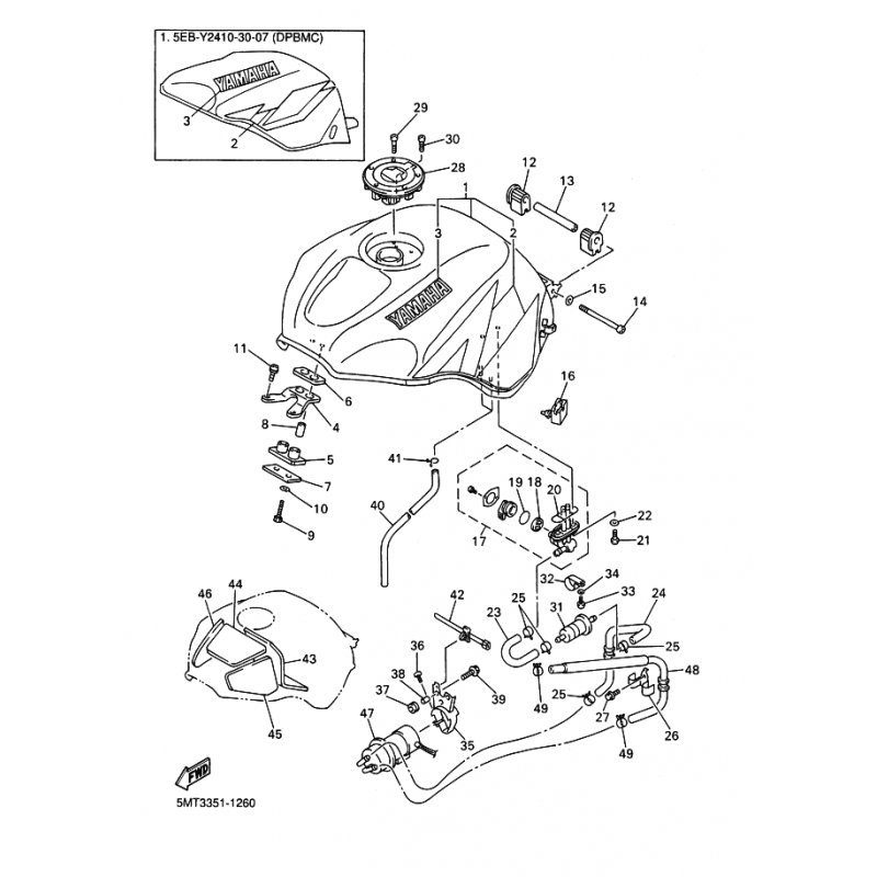
KRAFTSTOFFROHR 1
Artikelname: KRAFTSTOFFROHR 1
Hersteller: Yamaha
OEM Nummer: 5EB243110000
Hersteller: Yamaha
OEM Nummer: 5EB243110000




















