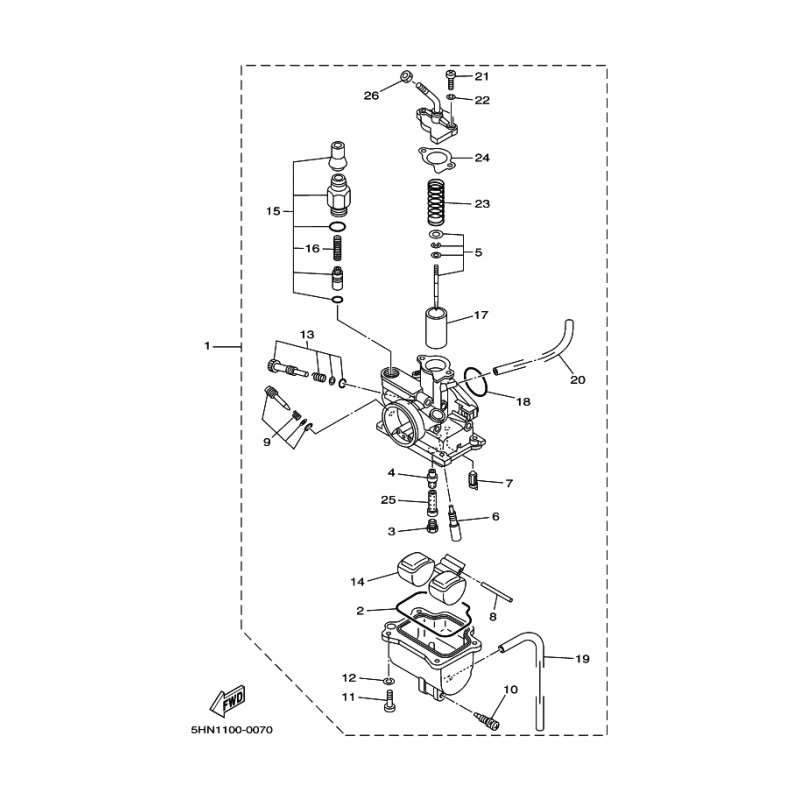
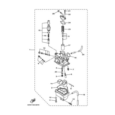
SCHWIMMER
Artikelname: SCHWIMMER
Hersteller: Yamaha
OEM Nummer: 5DV149850000
Hersteller: Yamaha
OEM Nummer: 5DV149850000




















