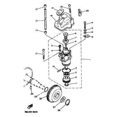
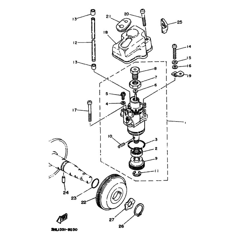
ANTRIEBSRAD, PUMPE
Artikelname: ANTRIEBSRAD, PUMPE
OEM: 5R0-13178-01 [5R0131780100]
OEM: 5R0-13178-01 [5R0131780100]




















