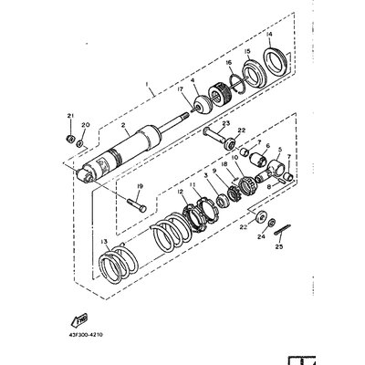
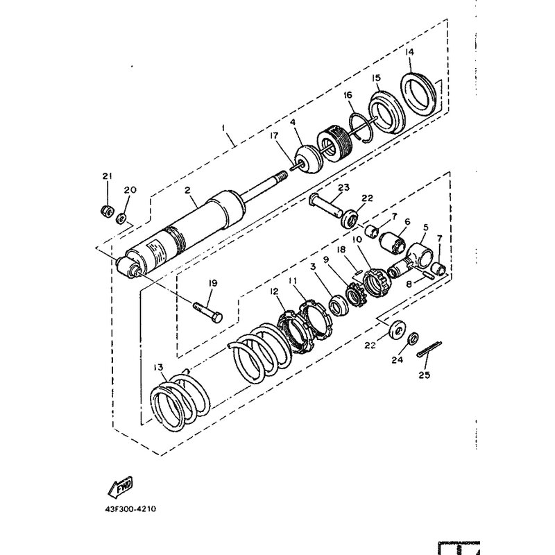
FEDER
Artikelname: FEDER
OEM: 55W-22212-00-26 [55W222120026]
OEM: 55W-22212-00-26 [55W222120026]




















