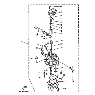
VERGASEREINHEIT 1
Artikelname: VERGASEREINHEIT 1
Hersteller: Yamaha
OEM Nummer: 550141011000
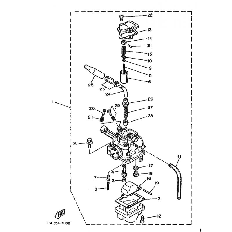
Hersteller: Yamaha
OEM Nummer: 550141011000






















