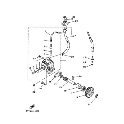
SCHNECKENWELLE
Artikelname: SCHNECKENWELLE
Hersteller: Yamaha
OEM Nummer: 522131750100
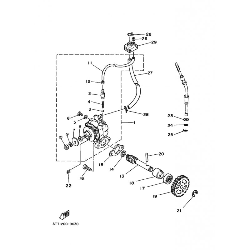
Hersteller: Yamaha
OEM Nummer: 522131750100






















