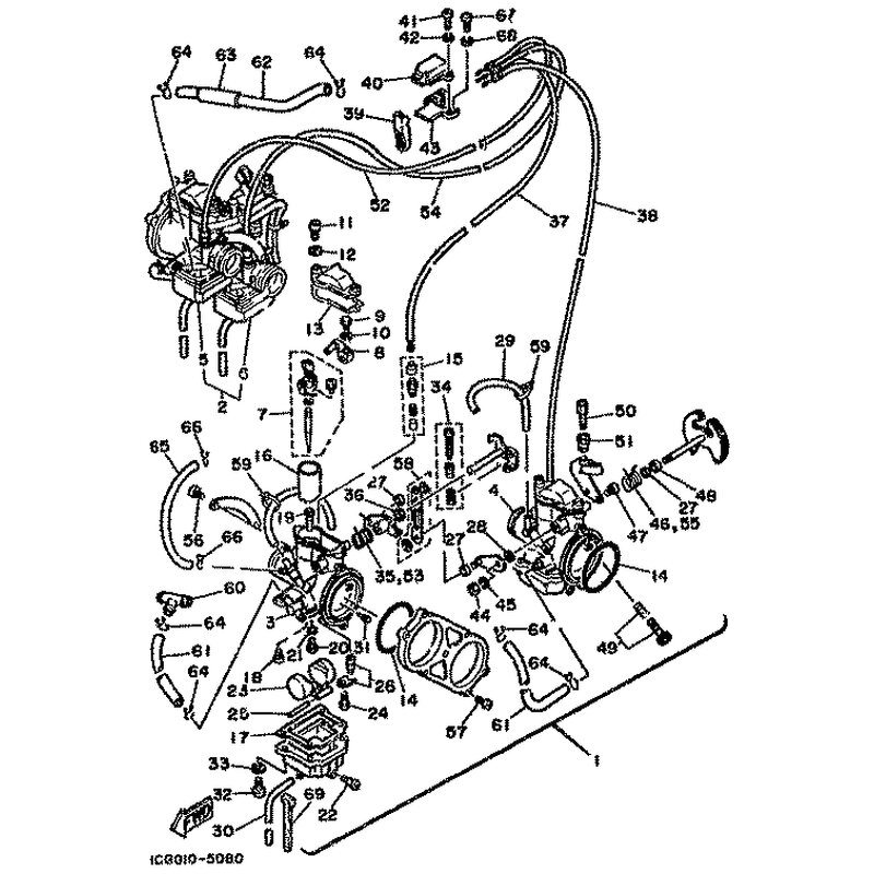
FEDER, DROSSELHEBEL
Artikelname: FEDER, DROSSELHEBEL
OEM: 51X-14931-00 [51X149310000]
OEM: 51X-14931-00 [51X149310000]




















