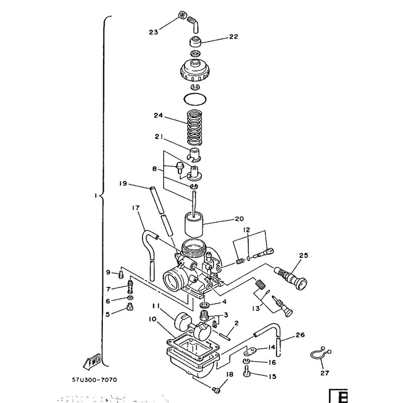
ANSCHLUSS
Artikelname: ANSCHLUSS
OEM: 509-14274-00 [509142740000]
OEM: 509-14274-00 [509142740000]




















