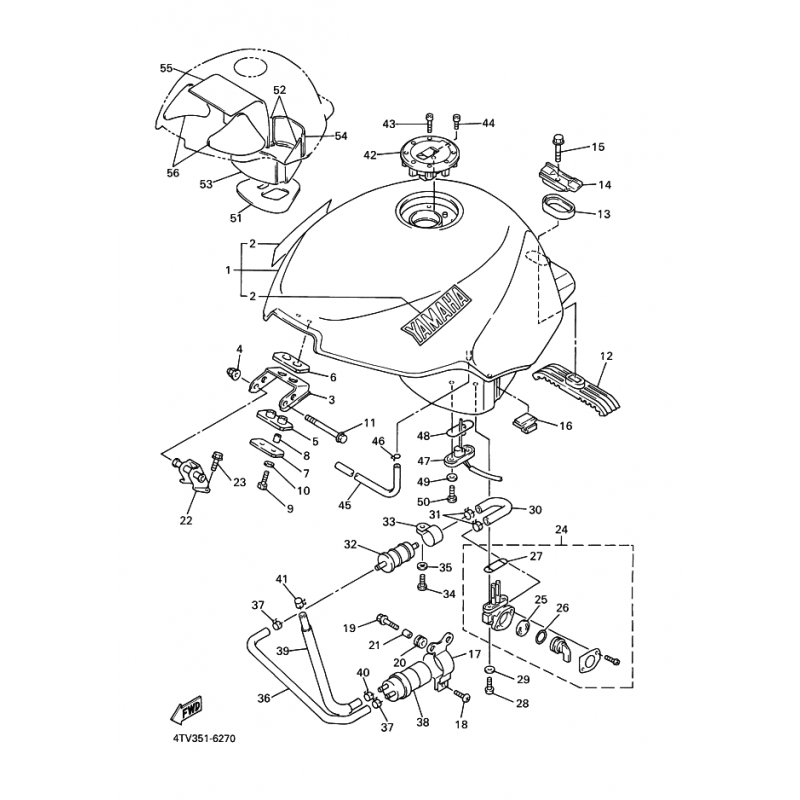
DAMPFUNGSLAGER 3
Artikelname: DAMPFUNGSLAGER 3
Hersteller: Yamaha
OEM Nummer: 4TV241831000
Hersteller: Yamaha
OEM Nummer: 4TV241831000






















