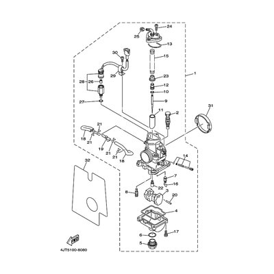
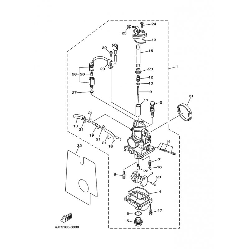
HAUPTDUSE
Artikelname: HAUPTDUSE
Hersteller: Yamaha
OEM Nummer: 4MX149439700
Hersteller: Yamaha
OEM Nummer: 4MX149439700






















