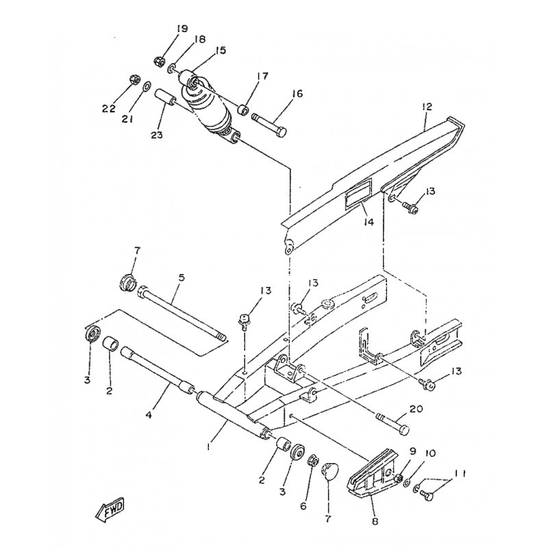
BUCHSE
Artikelname: BUCHSE
Hersteller: Yamaha
OEM Nummer: 4BAF21840000
Hersteller: Yamaha
OEM Nummer: 4BAF21840000






















