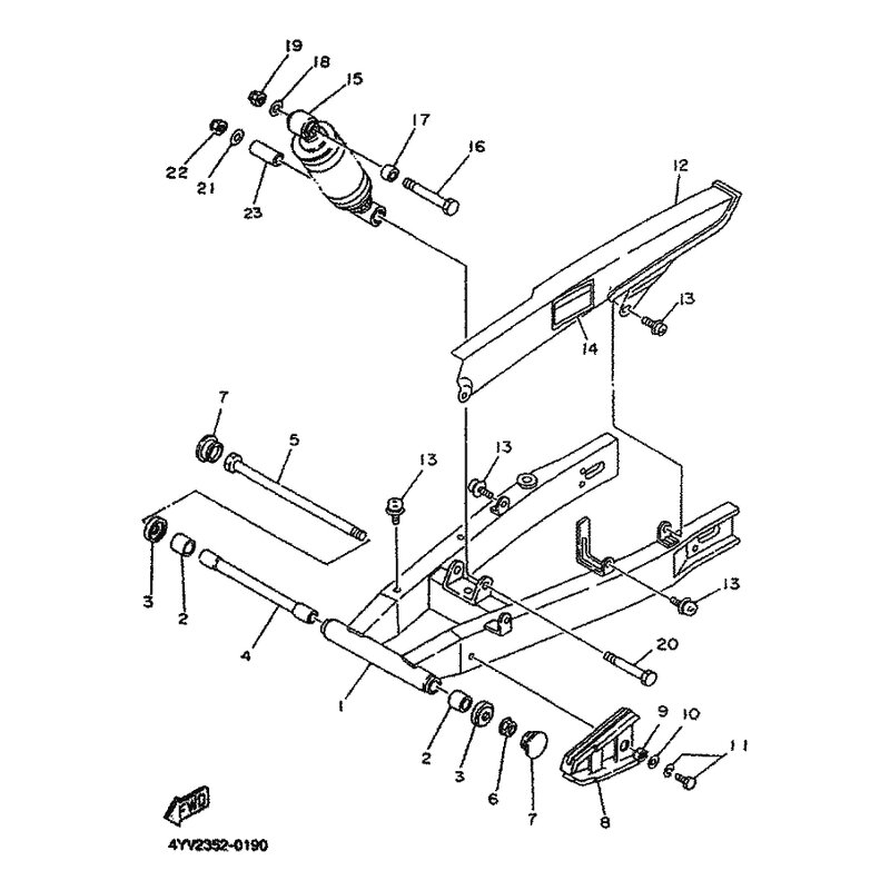
HINTERRADSCHWINGE KOMPL
Artikelname: HINTERRADSCHWINGE KOMPL
OEM: 4YV-F2110-00-98 [4YVF21100098]
OEM: 4YV-F2110-00-98 [4YVF21100098]




















