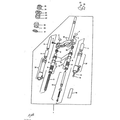
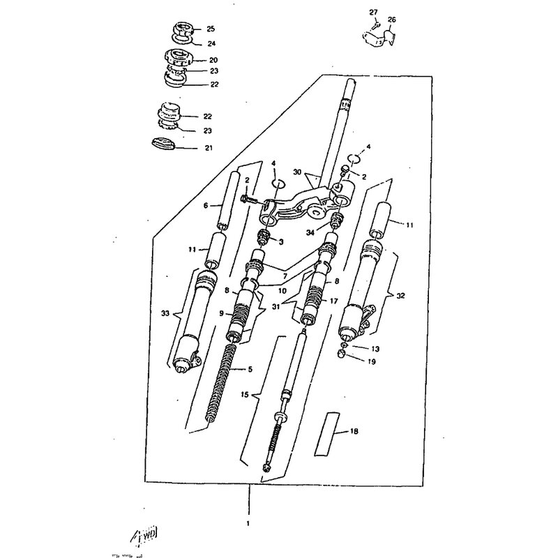
ROHR 1, INNEN
Artikelname: ROHR 1, INNEN
OEM: 4YB-F3124-00 [4YBF31240000]
OEM: 4YB-F3124-00 [4YBF31240000]




















