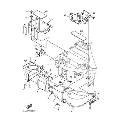
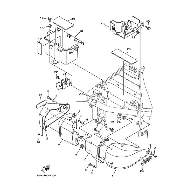
SEITENDECKEL 2
Artikelname: SEITENDECKEL 2
OEM: 4WM-21721-00-33 [4WM217210033]
OEM: 4WM-21721-00-33 [4WM217210033]




















