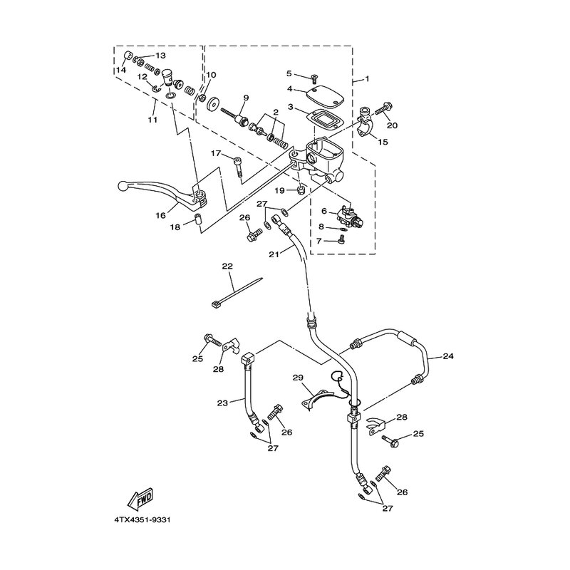
BREMSROHR
Artikelname: BREMSROHR
OEM: 4TX-25871-00 [4TX258710000]
OEM: 4TX-25871-00 [4TX258710000]






















