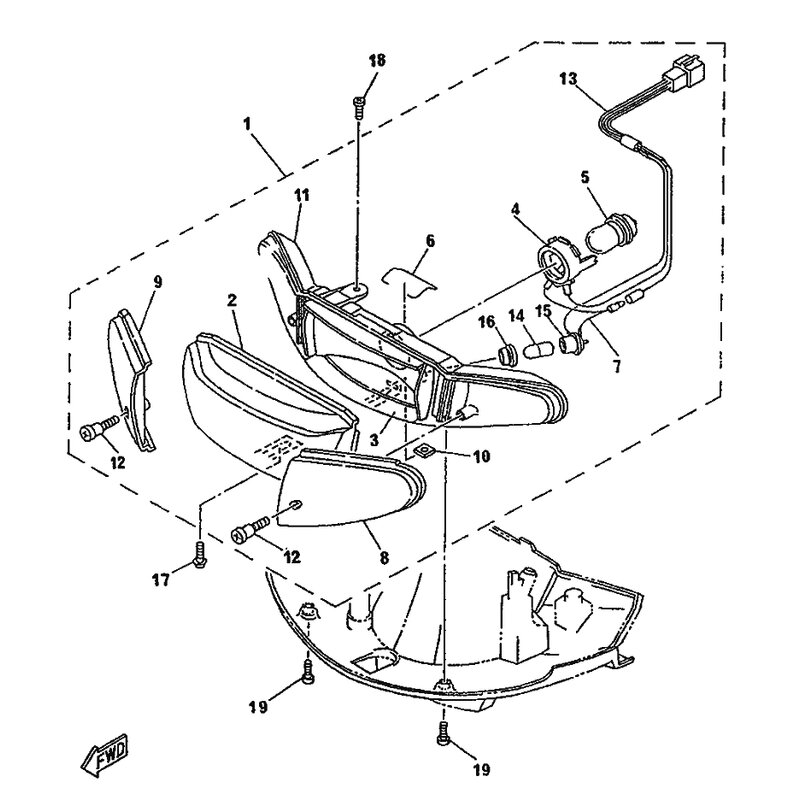
REFLEKTOR
Artikelname: REFLEKTOR
OEM: 4PC-H4323-00 [4PCH43230000]
OEM: 4PC-H4323-00 [4PCH43230000]




















