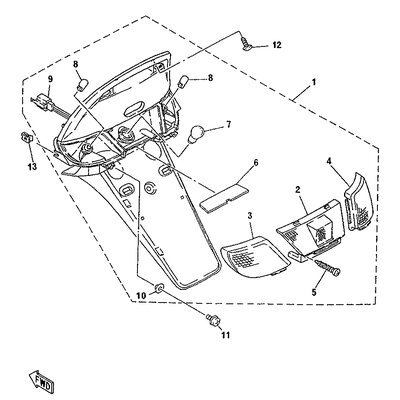
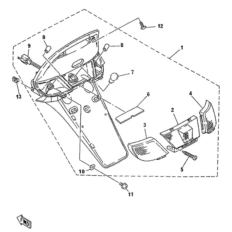
SCHLUSSLICHT KOMPL
Artikelname: SCHLUSSLICHT KOMPL
OEM: 4MJ-H4700-10 [4MJH47001000]
OEM: 4MJ-H4700-10 [4MJH47001000]




















