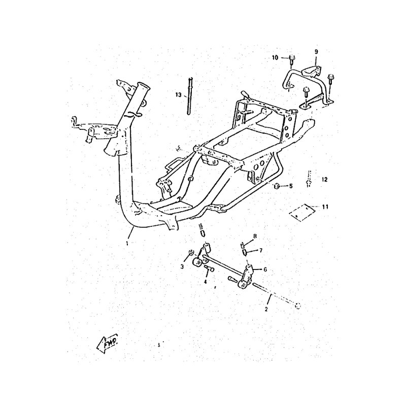
REINFORCEMENT, TAIL
Artikelname: REINFORCEMENT, TAIL
OEM: 4KH-F1232-00 [4KHF12320000]
OEM: 4KH-F1232-00 [4KHF12320000]




















