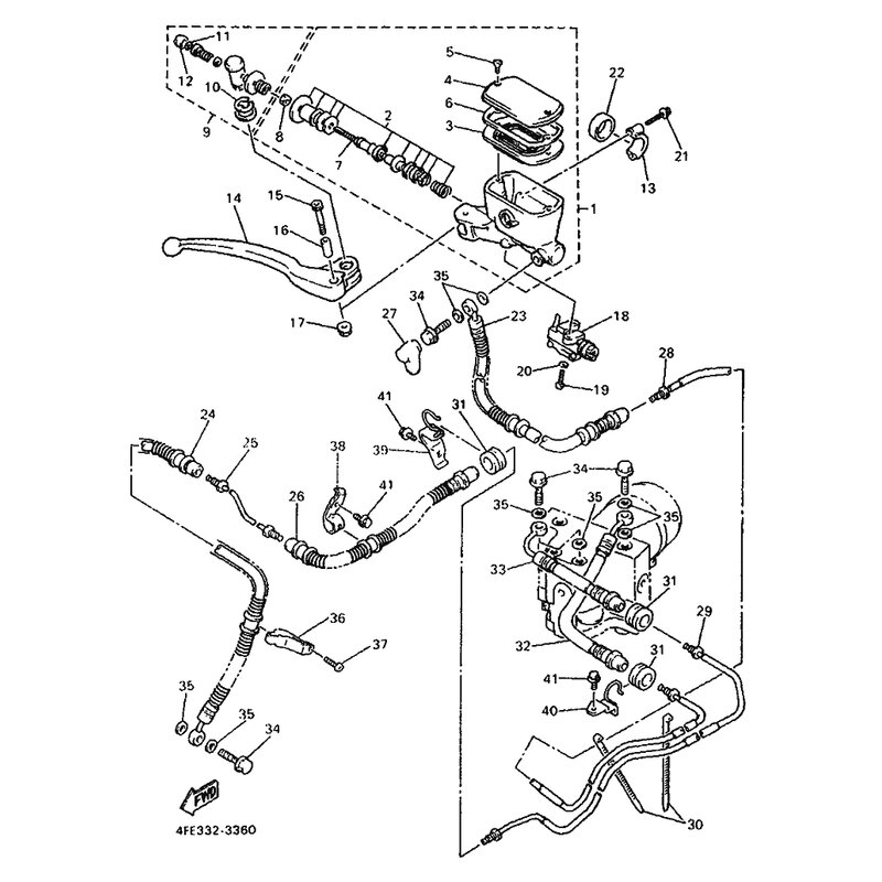
VORDERRAD-BREMSLICHTSCHALTE
Artikelname: VORDERRAD-BREMSLICHTSCHALTE
OEM: 4FE-83980-00 [4FE839800000]
OEM: 4FE-83980-00 [4FE839800000]




















