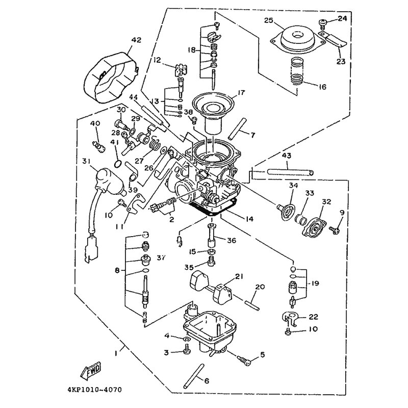
FEDER
Artikelname: FEDER
OEM: 4CW-14589-00 [4CW145890000]
OEM: 4CW-14589-00 [4CW145890000]




















