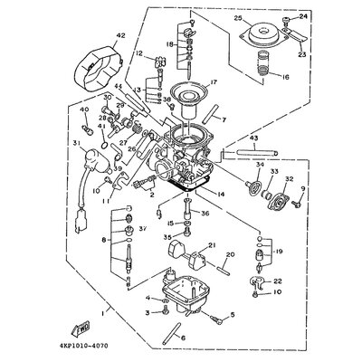
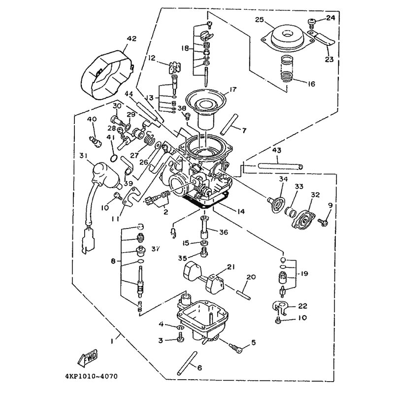
LEERLAUF-LUFTSCHRAUBENSATZ
Artikelname: LEERLAUF-LUFTSCHRAUBENSATZ
OEM: 4CW-14105-00 [4CW141050000]
OEM: 4CW-14105-00 [4CW141050000]




















