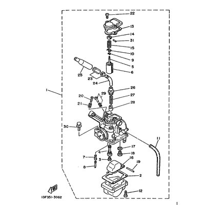
DICHTUNG
Artikelname: DICHTUNG
Hersteller: Yamaha
OEM Nummer: 439141980100
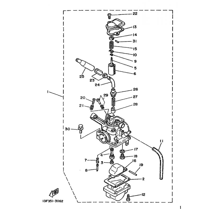
Hersteller: Yamaha
OEM Nummer: 439141980100






















