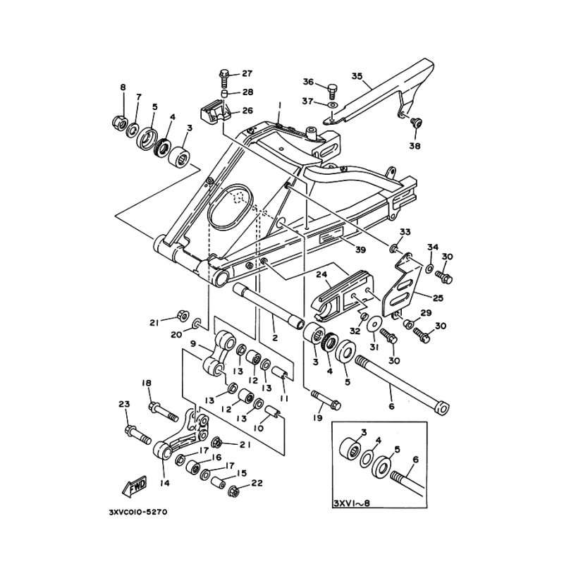
BEILEGSCHEIBE
Artikelname: BEILEGSCHEIBE
Hersteller: Yamaha
OEM Nummer: 3XV221270000
Hersteller: Yamaha
OEM Nummer: 3XV221270000






















