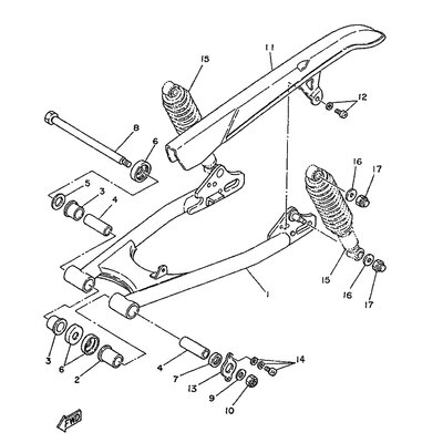
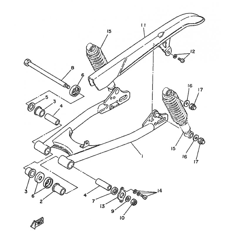
STOSSDAMPFEREINHEIT, HINTEN
Artikelname: STOSSDAMPFEREINHEIT, HINTEN
Hersteller: Yamaha
OEM Nummer: 3THF22102000
Hersteller: Yamaha
OEM Nummer: 3THF22102000




















