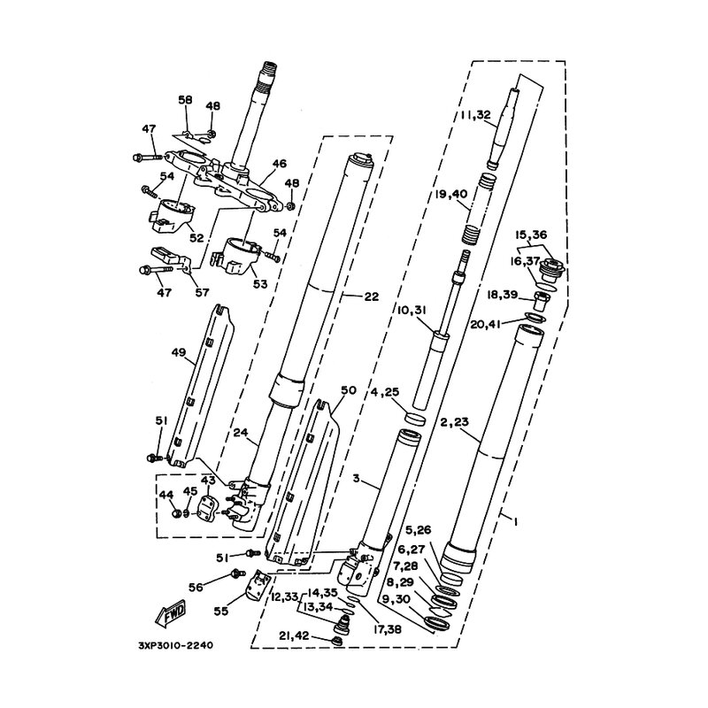
PROTECTER COMP., 1
Artikelname: PROTECTER COMP., 1
Hersteller: Yamaha
OEM Nummer: 3SP2314HL000
Dieser Artikel wurde durch folgenden ersetzt: 3XJ2314HL000
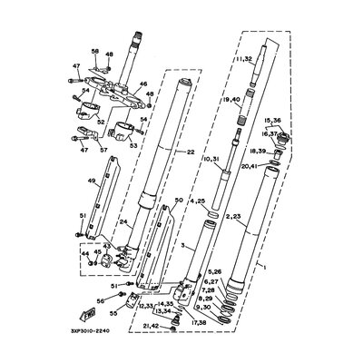
Hersteller: Yamaha
OEM Nummer: 3SP2314HL000
Dieser Artikel wurde durch folgenden ersetzt: 3XJ2314HL000






















