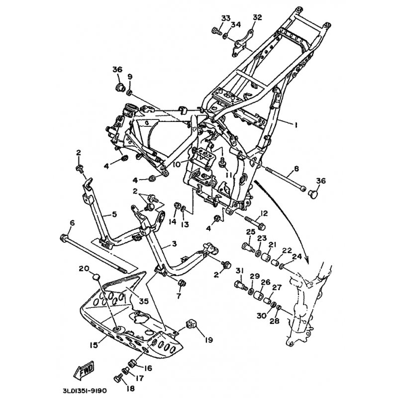
RAHMEN KOMPL.
Artikelname: RAHMEN KOMPL.
Hersteller: Yamaha
OEM Nummer: 3LD211100233
Dieser Artikel wurde durch folgenden ersetzt: 3LD211100333
Hersteller: Yamaha
OEM Nummer: 3LD211100233
Dieser Artikel wurde durch folgenden ersetzt: 3LD211100333




















