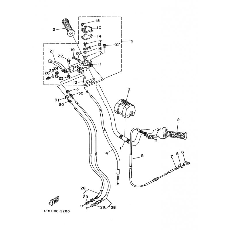
ARM, THROTTLE
Artikelname: ARM, THROTTLE
Hersteller: Yamaha
OEM Nummer: 3GB2625H0000
Hersteller: Yamaha
OEM Nummer: 3GB2625H0000






















