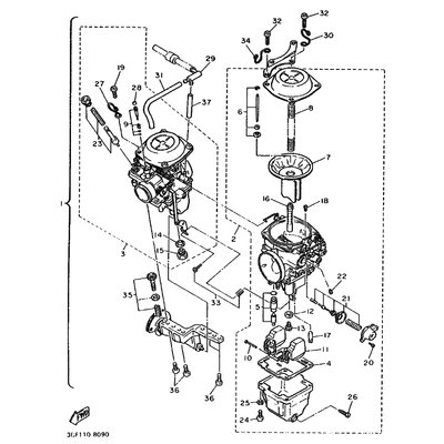
NADELSATZ
Artikelname: NADELSATZ
Hersteller: Yamaha
OEM Nummer: 3CN1490J0000
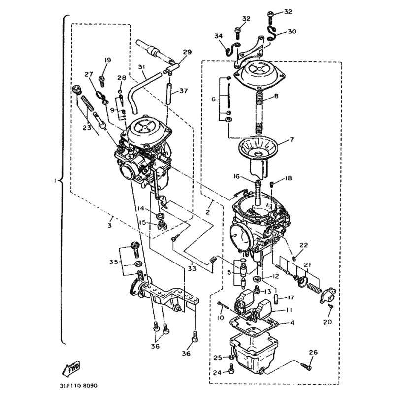
Hersteller: Yamaha
OEM Nummer: 3CN1490J0000




















