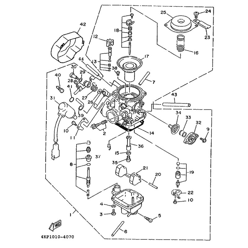
DUSE
Artikelname: DUSE
OEM: 3UH-14945-00 [3UH149450000]
OEM: 3UH-14945-00 [3UH149450000]




















