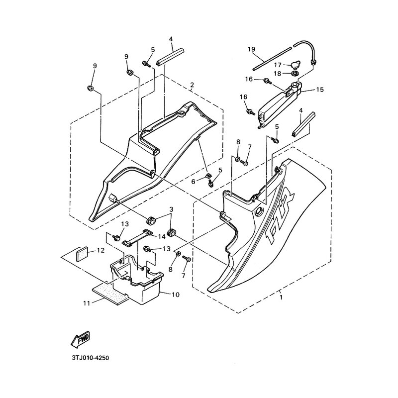
SEITENDECKEL 1
Artikelname: SEITENDECKEL 1
OEM: 3TJ-Y2171-00-0X [3TJY2171000X]
OEM: 3TJ-Y2171-00-0X [3TJY2171000X]




















