ABLASSCHRAUBE
Artikelname: ABLASSCHRAUBE
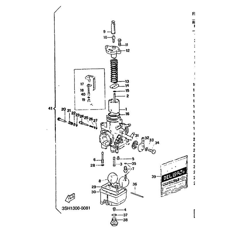
OEM: 3SH-E4191-00 [3SHE41910000]
OEM: 3SH-E4191-00 [3SHE41910000]






















