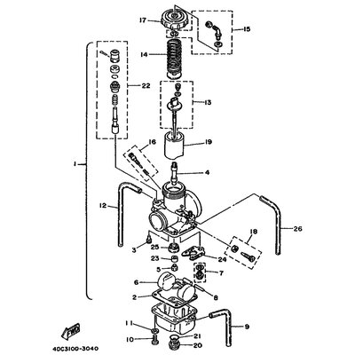
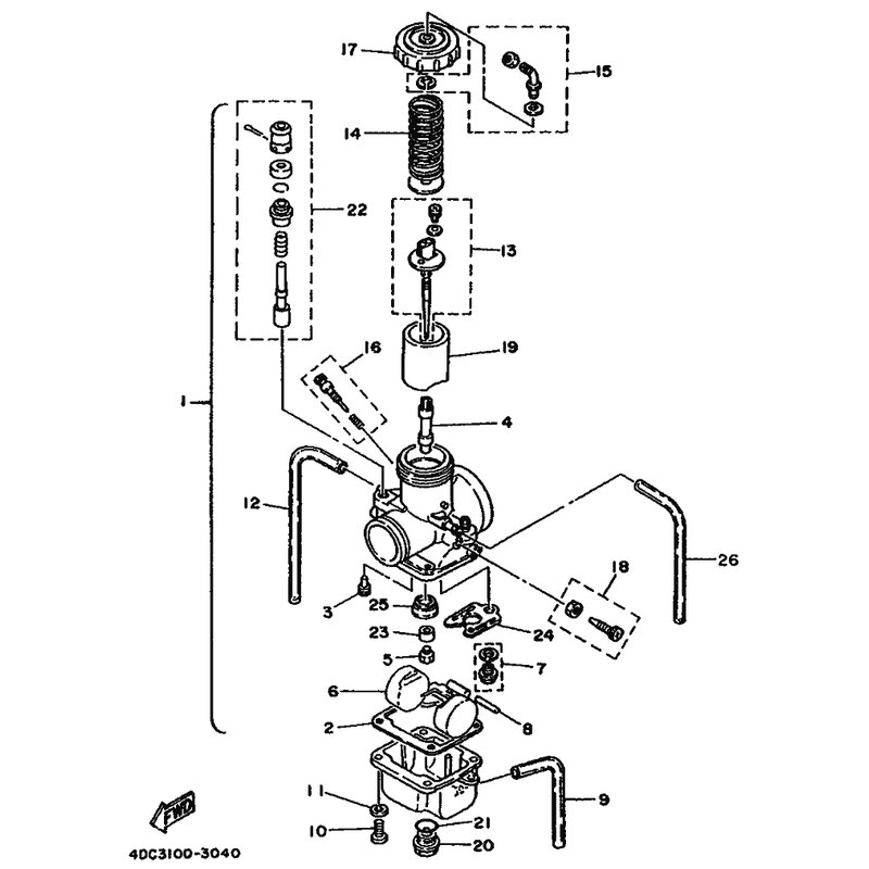
PLATTE
Artikelname: PLATTE
OEM: 3R4-14146-00 [3R4141460000]
OEM: 3R4-14146-00 [3R4141460000]




















