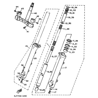
AUSSERES ROHR 2
Artikelname: AUSSERES ROHR 2
OEM: 3LP-23136-30 [3LP231363000]
OEM: 3LP-23136-30 [3LP231363000]




















