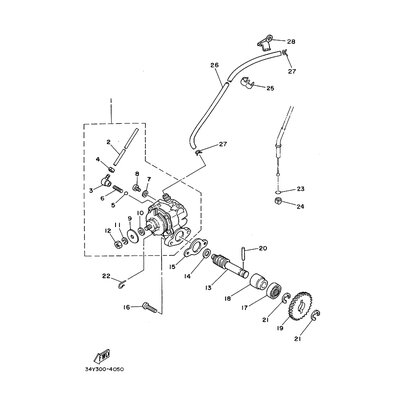
KLEMME
Artikelname: KLEMME
Hersteller: Yamaha
OEM Nummer: 363131330100
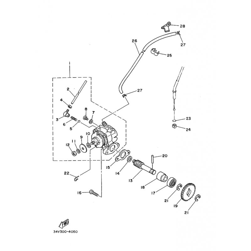
Hersteller: Yamaha
OEM Nummer: 363131330100






















