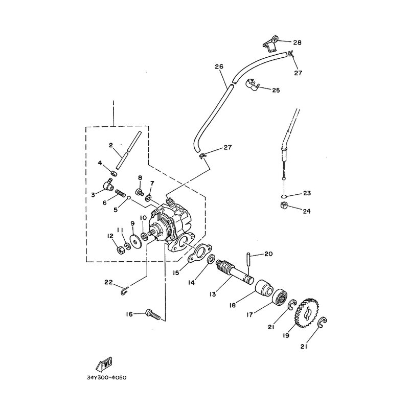
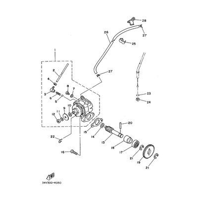
OLPUMPENEINHEIT
Artikelname: OLPUMPENEINHEIT
OEM: 34X-13101-00 [34X131010000]
OEM: 34X-13101-00 [34X131010000]




















