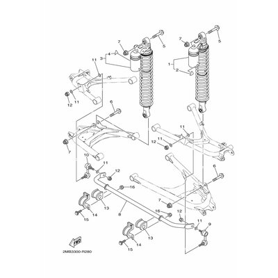
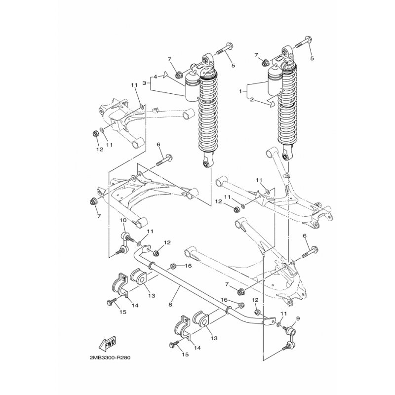
BAR, STABILIZER
Artikelname: BAR, STABILIZER
Hersteller: Yamaha
OEM Nummer: 2MBG74910000
Hersteller: Yamaha
OEM Nummer: 2MBG74910000




















