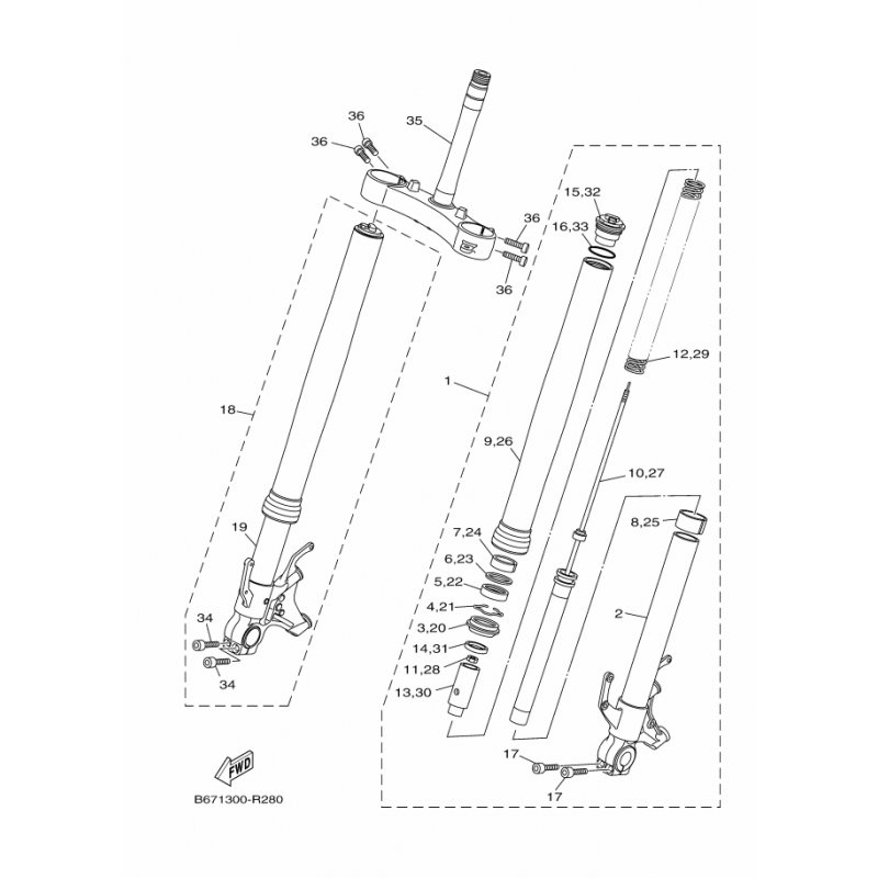
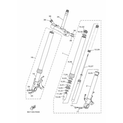
FEDERFUHRUNG
Artikelname: FEDERFUHRUNG
Hersteller: Yamaha
OEM Nummer: 2CR231170000
Hersteller: Yamaha
OEM Nummer: 2CR231170000






















