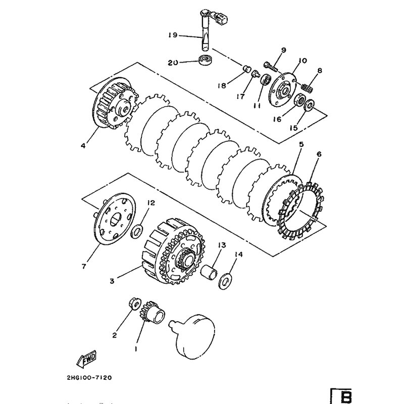
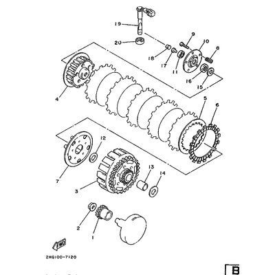
SCHUBPLATTE
Artikelname: SCHUBPLATTE
OEM: 2HG-16358-00 [2HG163580000]
OEM: 2HG-16358-00 [2HG163580000]




















