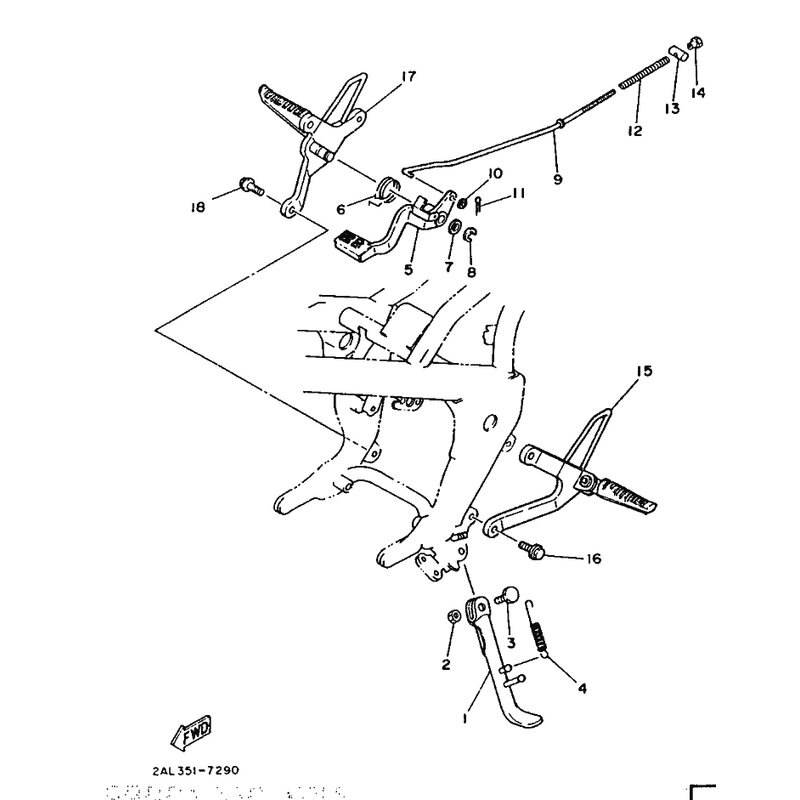
VORDERE JUSSRASTE KOMPL. (R
Artikelname: VORDERE JUSSRASTE KOMPL. (R
OEM: 2AL-27420-00-35 [2AL274200035]
OEM: 2AL-27420-00-35 [2AL274200035]




















